According to a recent patent filing, Ducati is engineering a revolutionary automatic clutch system that blends hydraulic precision with machine learning. This isn’t just another E-Clutch. This is Ducati’s take—complex, refined, and designed to learn your riding style.
The system uses a two-circuit configuration—one classic, one electronic—offering either manual or automatic clutch control. The ambition? To merge Ducati’s high-performance DNA with new-age convenience, and offer a system that’s adaptable, intelligent, and retrofittable.
Why Is Ducati Developing This System?
Ducati already has one of the best quickshifter and blipper systems in the business. So why reinvent the clutch?
- Interruptions Kill Performance: Quickshifters momentarily interrupt ignition and fuel injection. An intelligent clutch reduces this interruption.
- Better for Starts and Maneuvers: Traditional clutches need finesse during starts, stops, and slow-speed maneuvers. An automated clutch could eliminate stalling and offer precise control.
- Track-Ready Intelligence: In WSBK-level racing, even minor improvements in shift response can determine victory.

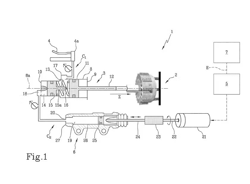
How Ducati’s Automatic Clutch Works
Ducati’s system combines:
- Primary Circuit (C1): Traditional clutch lever, direct mechanical control.
- Secondary Circuit (C2): Electronically-controlled, hydraulic actuation managed by a Transmission Control Unit (TCU).
This dual-circuit setup allows for both parallel and sequential functioning. Riders can switch between manual and automatic clutch usage on the fly. Depending on mode or condition, the system can completely take over clutch management.
Smarter Than the Rest: The Learning Factor
Ducati’s clutch doesn’t just automate—it learns. Through a nested control loop design:
- Inner Loop: Precisely controls clutch actuation based on piston position.
- Outer Loop: Adjusts hydraulic pressure for environmental changes (like oil temperature or wear).
This adaptability allows the system to personalize itself over time, optimizing for wear, riding style, and even oil degradation.

Three Riding Scenarios the System Targets:
- Launch Control (M1) – For torque-rich, high-grip starts.
- Anti-Stall Mode (M2) – Prevents engine stalling in traffic or while maneuvering.
- Gear Shift Optimization (M3) – Enables seamless gear changes without jolts or power interruption.
These features are calibrated using live sensor data—engine RPM, piston position, and hydraulic pressure.
Ducati vs. The Competition
Honda E-Clutch
- Fully automatic.
- Ideal for city traffic.
- Not optimized for high-performance riding.
Yamaha Y-AMT (Automated Manual Transmission)
- Semi-automatic.
- The rider still controls shifting.
- Balanced for touring, less track-ready.
BMW ASA (Automated Shift Assistant)
- Fully auto-shifting system.
- Currently in prototype phase.
- Focused on making shifting effortless.
Ducati’s System
- Only one with hydraulic and electronic integration.
- Retrofit-ready, extending to older Ducati engines.
- Learning capability, which others lack.

Models That Could Receive This First
- Panigale V2/V4: Improved stability, reduced shift shock, and fewer load changes mid-corner.
- Streetfighter V4: Sharper city performance and track readiness.
- Multistrada V2/V4: Easier maneuvering, especially for touring riders.
- DesertX: Potentially game-changing in off-road technical sections.
Marketing Analysis: Ducati’s Strategic Advantage
Ducati’s move is timely. The motorcycle industry is evolving:
- Riders Want Control + Comfort: Sporty riders demand performance, but urban and adventure riders want ease.
- Growing Acceptance: Auto-clutch and auto-transmission systems from Honda and Yamaha have softened the market for such innovation.
- Upsell Opportunity: Retrofit-ready design gives Ducati a reason to engage older Panigale, Multistrada, and Monster owners.
Moreover, Ducati’s implementation emphasizes learning and adaptability—a clear differentiator in a market saturated with fixed-logic systems.
Likes and Dislikes
Likes
- Fully retrofittable across models.
- Learning capability for evolving rider preferences.
- Doesn’t sacrifice performance.
- Adds real value to sport, touring, and off-road segments.
Dislikes / Challenges
- Added complexity may increase maintenance costs.
- Could alienate purists who want full manual control.
- Unknown pricing; may be an expensive optional upgrade.
- Sensor failure or hydraulic errors could result in unpredictable behavior.
Conclusion
Ducati’s automated clutch patent is more than an incremental upgrade—it’s a paradigm shift. By enabling smart, adaptive clutch behavior with the freedom of manual override, Ducati is preparing for a future where motorcycles don’t just perform—they respond, adapt, and evolve with you.
Expect to see this tech on the next-gen Panigale, Streetfighter, or Multistrada. If successful, it could redefine what performance means in the age of intelligent riding.
Sources:
- Ducati Patent Overview – Motorrad Online
- Honda E-Clutch Details – RideApart
- Yamaha Y-AMT System – Cycle World
- BMW ASA Transmission – Motorrad
- Instagram : LivingWithGravity
- Medium : Akash Dolas
- YouTube Channel : Gear and Shutter































