I. Introduction: The Electric Shift in Superbike Wars
The contemporary superbike market is a dynamic arena, characterized by intense competition where manufacturers like BMW and Ducati push the boundaries with advanced aerodynamics, sophisticated electronics, and sheer power. This era is defined by the spectacle of wings, launch control, and MotoGP-derived dashboards, showcasing a relentless pursuit of peak performance. Amidst this high-tech spectacle, Honda holds a unique historical standing. The brand is recognized not merely for chasing spec-sheet dominance but for building foundational engineering principles. Its legacy is deeply rooted in smarter engineering and a philosophy of “Total Control” that predates many of today’s trends. This enduring commitment to engineering excellence suggests that if any brand has earned the right to quietly reshape the industry with a single patent filing, it is Honda.
Honda’s latest patent filing for an electric superbike is more than just a conceptual drawing; it signifies a serious intent to translate their foundational engineering principles into the electric domain. This new layout carries the kind of engineering focus that hints at profound strategic intent. The patent suggests a deliberate move to define the future of high-performance electric motorcycles, leveraging decades of racing and engineering expertise. While the specific patent number for this “latest patent” is not explicitly detailed in the provided research, the comprehensive technical descriptions across multiple sources confirm its existence and significance, indicating a pivotal moment in Honda’s electrification journey.1

II. The Fireblade Legacy: Engineering for “Total Control”
The “Total Control” philosophy, central to the Fireblade’s identity, was conceived by Tadao Baba, a former racer and Honda engineer. His vision aimed to create a sportbike that prioritized rider control, nimbleness, and responsiveness over raw straight-line speed.3 This approach directly countered the prevailing trend in the late 1980s, where sportbikes were becoming large and unwieldy, very fast in a straight line but heavy and quite dull because they never turned like a race bike.3 Baba-san sought a machine that would excel into corners, produce ample power, and feature effective brakes, allowing riders to control it freely according to their wishes.3
The original CBR900RR Fireblade, introduced in 1992, embodied this philosophy by focusing on shedding weight rather than merely chasing top-end horsepower. It was a positively slim 185 kilograms with approximately 120bhp, achieving a light and agile feel comparable to a 600cc machine but with liter-class power.3 A critical principle was mass centralization, which involved making each component as light as possible while placing heavier items close to the motorcycle’s center of mass.3 This design choice was pivotal in enhancing agility and responsiveness. The innovative engine displacement of 893cc, fitted into a 750cc frame, exemplified this balance-over-brute-force approach, providing a unique blend of power and a compact chassis.3
The Fireblade continually evolved to maintain its edge, incorporating advancements while staying true to its core philosophy.3 Later iterations, such as the CBR1000RR-R Fireblade SP, became full-blown superbike weapons, yet they continued to pursue “TOTAL CONTROL for the Track”.4 Modern Fireblades integrate cutting-edge electronics, including a five-axis IMU, Honda Selectable Torque Control (HSTC), Bosch ABS with Wheelie Control and Rear Lift Control, and multiple rider modes, all designed to enhance rider control and performance.3 The 2024 model features a more pliant aluminum diamond-style frame for enhanced steering accuracy and traction, and new winglets to maintain downforce while reducing yaw moment, further refining control.4
The Fireblade’s enduring emphasis on nimbleness, balance, and mass centralization is not merely a historical footnote but a guiding principle for Honda’s electric future. The new electric superbike patent’s design elements, such as the integrated motor/swingarm unit, modular pivot blocks, and strategic battery placement, directly facilitate these “Total Control” tenets. For instance, the integrated motor and swingarm unit, combined with the longitudinal shock layout, allows for optimal mass centralization and compact packaging.1
This design choice inherently addresses the weight challenges of EV batteries by positioning the heaviest components—the motor and battery—centrally and low, thereby enhancing agility and responsiveness, much like Baba-san sought to do with the original Fireblade’s weight shedding.3 Furthermore, the modular pivot blocks, which allow for fine-tuning of geometry 1, directly translate to enhanced rider input and adaptability, which are core aspects of “Total Control.” This suggests that Honda is not simply electrifying a superbike; it is leveraging the unique characteristics of electric powertrains to potentially elevate the very concept of rider control and dynamic balance, setting a new benchmark for electric superbikes. This proactive approach underscores a profound commitment to their foundational engineering philosophy.

III. Unpacking the Patent: A Deep Dive into Honda’s Electric Superbike Architecture
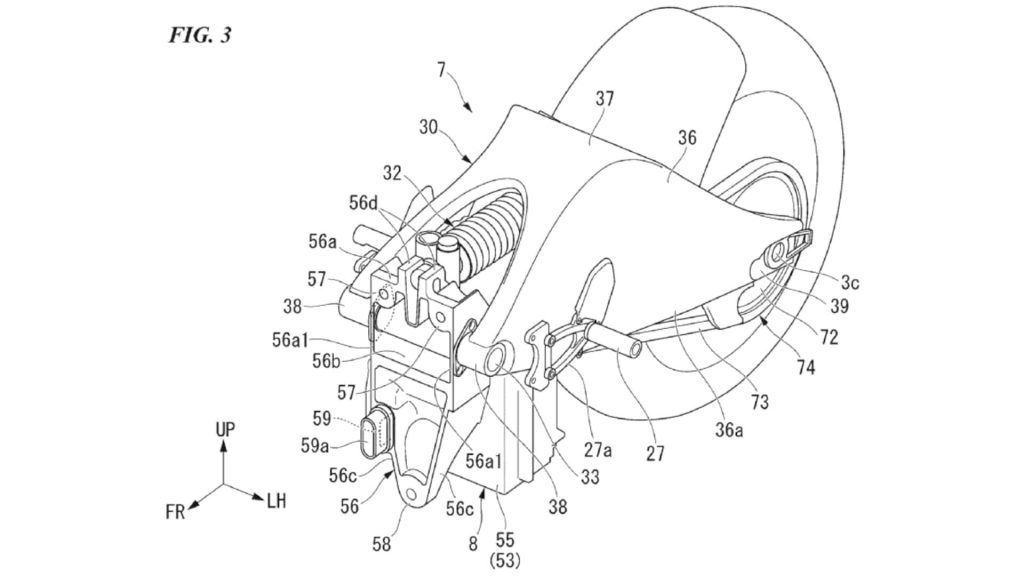
The patent describes a “saddle riding type electric vehicle,” indicating a design intended for a high-performance motorcycle, distinct from scooters or commuter bikes.1 This suggests a ground-up approach to electric superbike architecture, rather than merely adapting an existing internal combustion engine (ICE) chassis.
The most significant innovation lies in how the electric motor is mounted. It is positioned behind the swingarm pivot and integrated into a rigid unit case that bolts directly to the frame.1 This unit case is not just a housing; it connects to both upper and lower cross members on the frame and carries some of the structural load normally handled by a traditional engine.1 This is a departure from many EV concepts where the swingarm pivots off the motor housing alone.1
Instead, Honda’s design ensures the swingarm pivot is supported by both the motor unit and the frame’s pivot blocks, leading to better stiffness, more consistent handling, and fewer compromises in tuning.1 The motor and transmission are located at the rear of the chassis, deep in the swing arm, with an eccentrically positioned drive pinion hinting at a reduction gear.2 This compact assembly, mounted on a solid cast aluminum block, is secured to the main frame with three large bolts, with high-voltage wiring connecting at this point.2 This stable unit is designed to maintain consistent load on the main frame, even with more powerful motors.2
A key enabler for “Total Control” in the electric era is the patent’s modularity. The pivot blocks supporting the swingarm are modular, allowing Honda to swap them out to adjust swingarm pivot position or footpeg mounting points.1 This provides immense flexibility to fine-tune geometry without retooling an entire frame, a significant advantage for a manufacturer that produces multiple superbike variants with differing ergonomics and setups.1 The patent’s modular design for drive and chassis means the motor, swing arm, and rear suspension are integrated as a single unit that can be flexibly adapted to different chassis designs.2
The patent describes a rear shock mounted longitudinally over the motor.1 This unique setup connects to the frame up front and the swingarm at the rear, resembling high-performance enduro or freeride mountain bikes.1 This configuration offers practical benefits: it allows for more stroke without increasing the wheelbase, and crucially, leaves enough room for a decent-sized battery.1 The suspension strut is centrally integrated into the swing arm, contributing to a compact design intended for balanced handling.2
In electric vehicles, the battery pack is typically the largest and heaviest component, and its placement significantly impacts chassis design, weight distribution, and overall vehicle dynamics. By integrating the motor deep into the swingarm and placing the shock longitudinally above it, Honda creates a compact rear powertrain assembly. This specific packaging strategy frees up the traditional engine/fuel tank area in the main frame, creating an ideal central space for a large battery pack.
This enables optimal mass centralization—a core “Total Control” principle—and potentially allows for a larger battery capacity than might otherwise be possible in a superbike form factor. A larger battery directly translates to better range and/or higher power output, addressing key EV performance concerns. This is not just about fitting components; it is a holistic design approach that prioritizes battery integration as a foundational element, rather than an afterthought. It suggests Honda is designing the chassis around the electric powertrain, rather than attempting to shoehorn an electric motor into an existing ICE frame concept. This proactive design could provide a significant advantage in balancing performance, range, and handling in the electric superbike segment.
The ability to swap pivot blocks without retooling an entire frame implies rapid prototyping, easier adaptation for different rider sizes or track conditions, and potentially different model variants (e.g., a base model versus an SP or R version).1 The structural integrity of the drive unit, which maintains consistent load on the main frame regardless of motor power, suggests a robust, future-proof platform.2 This modularity and robust design point to a platform strategy where Honda can develop a single core electric superbike architecture and then easily scale or modify it for various performance levels, ergonomic requirements, or even different racing classes, without incurring massive re-engineering costs for each iteration.
This approach accelerates development cycles and reduces time-to-market for new models. This aligns with modern automotive platform strategies, where common underpinnings support diverse models. For electric motorcycles, where battery and motor technology are rapidly evolving, a modular chassis allows for easier upgrades or integration of next-generation components without a complete redesign. This positions Honda for efficient and agile product development in a fast-changing EV landscape, potentially giving them a competitive edge in bringing a diverse range of high-performance electric bikes to market.
The following table provides a comparison of key design elements in Honda’s electric superbike patent against traditional ICE superbikes and simpler EV concepts, highlighting the innovative aspects of Honda’s approach.
| Feature | Honda Electric Superbike Patent Design | Traditional ICE Superbike | Typical EV Concept (Early/Simpler) |
| Motor Mounting | Motor behind swingarm pivot, integrated into rigid unit case, structural load bearing 1 | Engine as stressed member, centrally mounted | Motor in swingarm hub or directly driving rear wheel; often less integrated |
| Swingarm Pivot | Supported by motor unit AND frame pivot blocks 1 | Pivots off engine/frame | Often pivots off motor housing alone 1 |
| Chassis Rigidity | Enhanced stiffness, consistent handling due to integrated structural load bearing 1 | High rigidity, often relying on engine as stressed member | Varies; can be compromised if motor housing is sole pivot point |
| Suspension Layout | Longitudinal rear shock mounted over motor 1 | Conventional rear shock placement (often diagonal or vertical) | Various shock placements; sometimes integrated into swingarm |
| Battery Placement Strategy | Centralized space optimization due to compact rear powertrain 1 | Fuel tank in traditional position; engine occupies central space | Battery often distributed or in less optimized locations; can compromise mass centralization |
| Modularity | Modular pivot blocks for geometry tuning; motor/swingarm/suspension as adaptable unit 1 | Less inherent modularity in frame/engine interface | Limited modularity; often fixed designs for specific applications |

IV. From Isle of Man to the Road: The Mugen Shinden Connection
Mugen Motorsports is not a subsidiary of Honda but operates as a completely separate company, founded by Soichiro Honda’s son, Hirotoshi Honda.5 This familial, rather than corporate, link positions Mugen as Honda’s spiritual twin and shadow laboratory, or unofficially official skunkworks.5 This unique relationship allows Mugen to develop and race bleeding-edge technologies that Honda might not immediately put its name on, acting as a crucial proving ground for future production concepts.
The Mugen Shinden series of electric race bikes achieved unparalleled dominance at the Isle of Man TT Zero, securing six consecutive victories between 2014 and 2019.2 Riders like Michael Rutter and John McGuinness piloted these machines to victory.2 This competition, focused on zero-emission machines, became a crucible for electric motorcycle innovation.5
The user query notes that the Shinden series used a layout eerily similar to what is being described in this patent. Supporting information confirms that Honda’s patent utilizes technology and experience from the successful Mugen Shinden project, and that the technical solutions in the patent drawings are very similar to the latest prototypes of the Mugen racers.2 Key shared principles include a rear-mounted motor, central battery, mass centralization, and a chassis designed for speed without compromise. The Shinden bikes were bespoke creations, prioritizing ultra-light, ultra-strong carbon-fiber for the chassis, swing arm, and bodywork, with every available space packed with batteries to achieve necessary performance and range.5 This direct lineage underscores the practical, race-derived nature of the patent’s innovations.
The Mugen Shinden bikes’ dominance at the Isle of Man TT Zero for six consecutive years provides a critical validation point.2 The TT is an extremely demanding race, pushing machines to their absolute limits in terms of speed, endurance, and handling over a challenging public road course. The patent’s design being eerily similar to and utilizing technology and experience from the Shinden project implies that the core architectural principles—integrated motor/swingarm, mass centralization, and chassis optimization—have been rigorously tested and proven in the most extreme racing environment.2 This race-proven heritage provides immense credibility and confidence in the patent’s design.
It suggests that Honda has already validated the fundamental engineering solutions for high-performance electric motorcycles, not just in theory or lab tests, but under real-world, competitive stress. This significantly de-risks future production. For consumers and the industry, this translates to a higher expectation of performance, reliability, and handling from a potential Honda electric superbike. It signifies that Honda is not entering the electric superbike market with an unproven concept but with a foundation built on championship-winning technology, which could accelerate market acceptance and establish Honda as a serious contender from day one.
The following table details Mugen Shinden’s victories at the Isle of Man TT Zero and highlights the key design principles that underpin its success, demonstrating the direct transfer of knowledge to Honda’s patent.
| Year | Rider | Result | Key Shinden Design Principles |
| 2014 | John McGuinness | 1st Place | Ultra-light carbon-fiber chassis/swingarm/bodywork 5 |
| 2015 | John McGuinness | 1st Place | Every available space packed with batteries 5 |
| 2016 | Bruce Anstey | 1st Place | Rear-mounted motor [user query] |
| 2017 | Bruce Anstey | 1st Place | Mass centralization [user query] |
| 2018 | Michael Rutter | 1st Place | Chassis optimized for speed without compromise [user query] |
| 2019 | Michael Rutter | 1st Place | Leveraging racing data for continuous improvement 6 |
V. Honda’s Electric Future: Beyond the Patent
Honda has a clear and ambitious roadmap for electrification, aiming for carbon neutrality for all products and manufacturing activities by 2050.7 Specific targets include introducing 10 or more electric motorcycle models globally by 2025 and increasing annual EV sales to 1 million units within the next five years, and 3.5 million units (equivalent to 15 percent of total unit sales) as of 2030.7 This comprehensive strategy includes both “Commuter/Business-use” and “FUN EVs”.7
The patent for the electric superbike clearly falls under Honda’s “FUN EV” platform, which is currently under development.7 Honda plans to introduce three large-size FUN EV models in Japan, the U.S., and Europe between 2024 and 2025.7 This indicates a strategic focus on the high-performance segment, recognizing its importance for brand image and technological leadership, even if the market is still considered to be cautious in mid-2025.2 Honda also aims to equip these FUN EV models with an all-solid-state battery that the company is currently developing 7, signaling a commitment to next-generation battery technology for performance applications.
Honda acknowledges significant challenges for EV adoption, including heavier vehicle weight and higher prices for electric models, as well as dependence on government incentives, regulations, and availability of charging infrastructure.7 However, the detailed nature of this superbike patent, along with the Mugen Shinden’s success, suggests Honda is actively addressing these challenges through innovative engineering. The opportunity lies in establishing a dominant position in the nascent high-performance electric motorcycle segment by leveraging their “Total Control” philosophy and race-proven technology. The market is ready for practical, reliable, and high-performance EVs, a principle that applies broadly beyond just the low-cost commuter segment.8
Honda’s EV strategy is multi-faceted, encompassing both “Commuter/Business-use” models (such as those supplied to postal services or low-cost models akin to the Shine 100 counterpart) and “FUN EVs” like the superbike patent.7 They are also exploring swappable batteries for commuters and advanced solid-state batteries for FUN EVs.7 This broad approach indicates that Honda understands the diverse needs of the global motorcycle market. Commuter EVs address mass market adoption, emissions reduction, and accessibility, particularly in emerging economies. FUN EVs, such as the superbike, serve as halo products, showcasing technological prowess, enhancing brand image, and pushing performance boundaries.
By pursuing both ends of the spectrum simultaneously, Honda mitigates risk and maximizes market penetration. The high-volume commuter segment provides revenue and broadens EV acceptance, while the high-performance segment drives innovation and maintains Honda’s reputation for engineering excellence. The technologies developed for one segment (e.g., battery advancements, motor efficiency) can potentially trickle down or up, creating synergies across their EV portfolio. This comprehensive strategy positions Honda not just as an EV manufacturer but as a leader in the transition to electric mobility across all motorcycle segments, implying a long-term vision where different EV solutions cater to different market demands, ensuring their continued global dominance in the electric era.
Despite having a seemingly advanced and production-ready design for the electric superbike 2, the market for electric superbikes is still considered cautious in mid-2025.2 Honda’s overall EV targets extend to 2030 and 2050.7 This suggests that Honda is not rushing to market. This aligns with their historical methodical approach, as seen in the Fireblade’s over three years of development or Mugen’s structured three-year plan for the Shinden.3 They are actively developing advanced technologies like solid-state batteries 7, which are not yet ready for mass market deployment.
This indicates that Honda is not merely looking for a quick market entry. They are waiting for key technological advancements and market conditions—such as charging infrastructure availability, broader consumer acceptance, and potentially reduced costs—to mature. They are building the foundation now, so when the market is truly ready, they can launch a highly competitive and refined product that embodies their “Total Control” philosophy, rather than an interim solution. This demonstrates Honda’s characteristic long-term strategic thinking and patience. They are willing to invest in research and development and wait for the optimal moment to launch, ensuring their product is not just “first” but “best” in terms of performance, reliability, and rider experience. This approach could allow them to avoid early market pitfalls and establish a dominant position once the electric superbike segment truly takes off.

The following table summarizes Honda’s stated electric motorcycle targets and roadmap, providing a clear overview of their strategic commitments and timelines.
| Goal/Target | Timeline/Quantity | Key Initiatives/Technology | Market Focus |
| Carbon Neutrality | By 2050 | All products & manufacturing activities 7 | Global |
| EV Models Introduction | 10+ models by 2025 7 | Commuter/Business-use & FUN EVs 7 | Global |
| Annual EV Sales Target | 1 million units within 5 years; 3.5 million units (15% of total) by 2030 7 | All-solid-state battery development; Battery sharing ventures 7 | Global |
| FUN EV Models Introduction | 3 large-size models between 2024-2025 7 | FUN EV platform under development 7 | Japan, U.S., Europe |
| Commuter EV Models Introduction | 2 models between 2024-2025 7 | Equipped with Honda Mobile Power Pack (MPP) swappable batteries 7 | Asia, Europe, Japan |
VI. Conclusion: The Next Chapter of “Total Control”
Honda’s latest electric superbike patent is far more than a conceptual drawing; it represents a highly advanced, integrated, and modular engineering architecture. The detailed design solutions for motor integration, swingarm pivot, and suspension layout signify a profound commitment to performance and rider control in the electric domain. The direct lineage from the dominant Mugen Shinden TT Zero program provides irrefutable evidence that this patent is built on race-proven technology, offering a foundation of validated performance and reliability under extreme conditions.
This patent is a powerful affirmation that Honda’s “Total Control” philosophy, first championed by Tadao Baba with the original Fireblade, is not confined to internal combustion engines. Instead, it is being meticulously adapted and potentially enhanced by the unique opportunities presented by electric powertrains. The focus on mass centralization, chassis tunability, and integrated design demonstrates a consistent dedication to rider-centric engineering.
Positioned within Honda’s ambitious broader electrification strategy, this patent signals their serious intent to be a leader in the high-performance “FUN EV” segment. While challenges remain in the nascent electric superbike market, Honda’s methodical approach, leveraging race-proven technology and a deep understanding of chassis dynamics, suggests they are poised to introduce a compelling and competitive electric Fireblade. This patent is not merely a glimpse into a potential product; it is a blueprint for how Honda intends to redefine “Total Control” for the electric age, quietly reshaping the industry once again.
Sources
- Honda’s New EV Motorcycle Patent Seriously Looks Like An Electric …, accessed on July 22, 2025, https://www.rideapart.com/news/766272/honda-electric-superbike-patent-close-look/
- Honda patent: Electric Fireblade with Mugen technology – What’s …, accessed on July 22, 2025, https://motorcycles.news/en/honda-electric-fireblade-patent/
- The Honda Fireblade: A Short History | Honda Engine Room, accessed on July 22, 2025, https://www.honda.co.uk/engineroom/the-honda-fireblade-a-short-history/
- Machine: Honda CBR1000RR-R FIREBLADE SP, accessed on July 22, 2025, https://wsbk.hondaracingcorporation.com/machine/
- The World of Mugen TT | Honda Engine, accessed on July 22, 2025, https://www.honda.co.uk/engineroom/bikes/world-of-mugen-tt/
- New challenge of the EV motorcycle racer! – News – MUGEN, accessed on July 22, 2025, http://www.mugen-power.com/common/english/news/2013/20130708/index.html
- Honda Refines EV Motorcycle Strategy – American Motorcyclist …, accessed on July 22, 2025, https://americanmotorcyclist.com/honda-refines-ev-motorcycle-strategy/
- Honda’s new super low-cost electric motorcycle could come at the perfect time – Electrek, accessed on July 22, 2025, https://electrek.co/2025/07/18/hondas-new-super-low-cost-electric-motorcycle-could-come-at-the-perfect-time/
Our Social Media Handles
- Instagram : LivingWithGravity
- Medium : Akash Dolas
- YouTube Channel : Gear and Shutter































