Well rumours are true that Suzuki is going to launch Gixxer 250 and that will happen soon probably in before first quarter of 2019.
The Gixxer 250 will be an overhaul for current Gixxer proprietors who are searching for a superior execution and this bicycle seems as though it will convey.
When Suzuki propelled the littler 150 cc this lower displacement bike in India, they named it, well, Gixxer. That Gixxer name has earned a great deal of fans in India throughout the years and another Gixxer 250 will just support the brand in India.
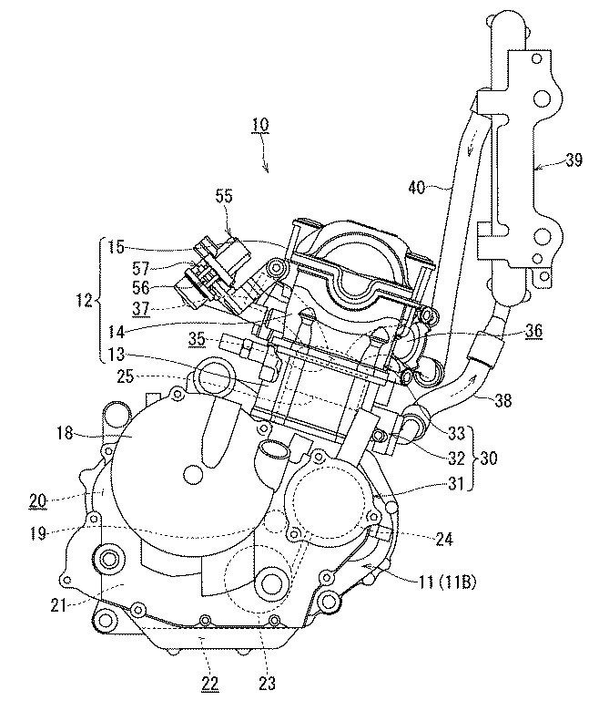
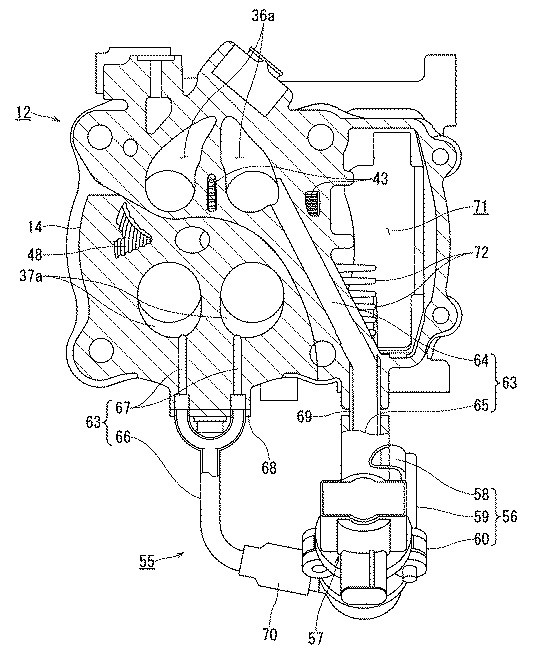
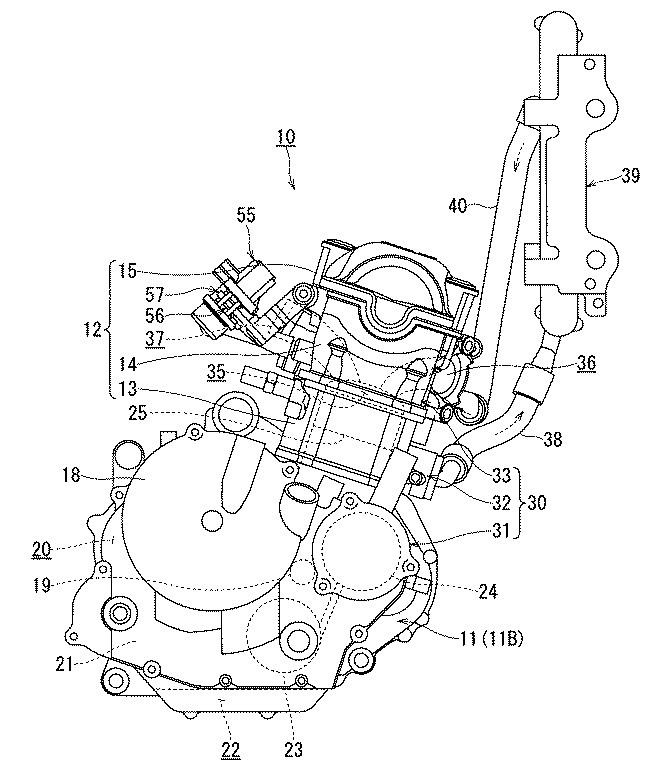
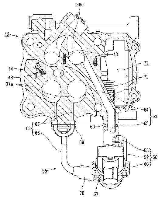
Obviously we realize it will be a 250cc single-barrel unit, yet it will have a four-valve SOHC design and a vertically stacked oil-cooling unit rather than fluid cooling.
2019 LivingWithGravity Calendar teaser
The new fuel infused engine will be equipped for creating something like 22 to 25 hp and mated to a 6-speed transmission. This will be somewhat higher than the Yamaha FZ25 however lower than the Honda CBR250R, its principle rivals.
The Suzuki Gixxer 250 is relied upon to be propelled in the not so distant future. As far as valuing, the bikes will be estimated somewhere close its competitors Yamaha FZ25 and the Honda CBR250R.
Source : kojintekibikematome and Bikeadvice







































