1. Executive Summary
This report presents an in-depth analysis of Yamaha’s recently filed patent for active variable outlet ducts on its R1 superbike, a significant development poised to reshape the landscape of active aerodynamics in mainstream motorcycles. In contrast to conventional active grille shutters that primarily regulate incoming airflow, Yamaha’s system strategically manages the egress of heated air from the radiator, offering distinct advantages in both aerodynamic efficiency and thermal management.
The core benefits of this innovation encompass substantial drag reduction, enhanced fuel efficiency, and crucial improvements in emissions performance, particularly through precise control of catalytic converter temperature. This approach represents a fundamental re-evaluation of where the most impactful aerodynamic gains can be achieved on a motorcycle. The open architecture of a motorcycle’s chassis and the dynamic interaction of the rider with airflow imply that managing turbulent, heated air after it has passed through the radiator could yield more significant results than merely restricting initial air entry.
This suggests a potential shift in motorcycle aerodynamic design, where post-radiator airflow management becomes a critical frontier, necessitating bespoke solutions tailored to the unique dynamics and thermal characteristics of two-wheeled vehicles. Such a development could establish a new industry benchmark for active aerodynamic implementation on performance motorcycles.
Historically, active aerodynamics has evolved across automotive and aerospace sectors, and its application in motorcycles, while nascent, is rapidly accelerating, with major manufacturers like BMW, Honda, and Ducati actively pursuing diverse, innovative solutions. Yamaha’s pioneering method directly addresses critical market demands for superior performance while simultaneously navigating increasingly stringent global emissions regulations.
The unequivocal statement that the R1 has been withdrawn from Yamaha’s streetbike range in Europe due to emissions rules underscores that regulatory compliance is not merely influencing but actively driving complex engineering solutions like this active aero system.1 This highlights a critical trend where technological advancements in the motorcycle industry are increasingly shaped by legislative pressures. Future high-performance motorcycles will need to be intelligent and adaptive in their thermal and emissions management to remain commercially viable and street-legal in key global markets, positioning Yamaha as a potential leader in this evolving domain.

2. Introduction: The Dawn of Active Aerodynamics in Motorcycles
Modern vehicle design, across both automotive and motorcycle sectors, is increasingly prioritizing aerodynamic efficiency. This emphasis is driven by a confluence of factors, including consumer demands for enhanced performance, the imperative for improved fuel economy, and the growing global push for reduced emissions. Aerodynamics, traditionally focused on static design features, is undergoing a significant evolution towards active systems. These dynamic technologies can adjust in real-time to optimize airflow based on varying vehicle speeds, environmental conditions, and operational requirements.3
The consistent emphasis on active aerodynamics enhancing both performance and efficiency, as seen in various automotive applications, extends directly to the motorcycle sector.3 The need to satisfy “customers demanding improvements in performance and legislators requiring better emissions performance” indicates that there is an escalating pressure for vehicles that not only deliver exhilarating performance but also demonstrate strong environmental responsibility and economic efficiency.1
Active aerodynamics serves as a key enabling technology for this dual objective, allowing for dynamic trade-offs and optimizations that are simply unattainable with static, fixed designs. This suggests a fundamental shift in market and regulatory expectations, implying that future vehicle development, including the entire motorcycle spectrum, will increasingly rely on adaptive, intelligent systems to navigate the complex and often conflicting interplay between raw power output, fuel consumption, and environmental impact.
Yamaha’s recent patent application for its R1 superbike, featuring active variable outlet ducts, represents a pivotal moment. It signifies a major step in bringing sophisticated, adaptive aerodynamic technology from specialized racing applications and high-end automotive segments to mainstream production motorcycles.1 This innovation embodies a crucial convergence of engineering disciplines, drawing valuable lessons and principles from both the established automotive industry and advanced aerospace sectors to effectively address the unique and complex aerodynamic challenges inherent in motorcycle design.

3. Historical Evolution of Active Aerodynamic Systems
Early Automotive Applications
The concept of using movable shutters to regulate airflow through a radiator is far from novel, with its origins tracing back to cars before World War II.1 In that era, these early systems, often operated manually or via simple methanol-filled thermostatic actuators, were primarily concerned with maintaining optimal engine temperature in the absence of more efficient, thermostatically controlled cooling systems.1 The main design driver for these features was thermal management, not aerodynamic efficiency.1
Aircraft Innovations: The Meredith Effect
Concurrently, in the realm of aviation, adjustable cooling ducts were increasingly adopted, primarily for their significant aerodynamic benefits. These systems aimed to “clean up the external airflow when less cooling was required,” thereby reducing drag.1 The North American P-51 Mustang stands as the iconic example of this principle, successfully employing the “Meredith effect”.1
The Meredith effect describes a phenomenon where the aerodynamic drag typically produced by a cooling radiator can be partially or even entirely offset by carefully designing the cooling duct. This design allows the expansion of hot air within the duct to generate a small but useful amount of forward thrust, effectively turning waste heat into propulsive energy.1 F.W. Meredith, a British engineer, formalized this groundbreaking principle in 1936.6 This illustrates a continuous and vital cross-pollination of advanced aerodynamic concepts and engineering methodologies from the aerospace industry to the automotive sector, and now increasingly to the motorcycle industry. Aircraft, operating at higher speeds and facing more extreme drag challenges, often pioneer aerodynamic solutions that later become applicable and trickle down to ground vehicles as their performance envelopes expand. This suggests that future breakthroughs in motorcycle aerodynamics will likely continue to draw significant inspiration and foundational principles from aerospace engineering.

Modern Automotive Active Grille Shutters
Today, active grille shutters are a common feature in modern cars, exemplified by models like the BMW X5.8 Their primary function has evolved significantly. While still contributing to thermal management, their main purpose is now to enhance aerodynamic performance, improve fuel efficiency, and reduce CO2 emissions.1 By automatically closing the intakes when additional cooling is not required, these systems effectively reduce aerodynamic drag, smooth the airflow around the vehicle, and contribute to faster engine warm-up times, thereby improving overall efficiency.9 These benefits also extend to electric vehicles, where active grille shutters play a role in extending battery range by minimizing aerodynamic resistance.9
The progression from early car shutters primarily for “engine temperature” to modern active shutters that prioritize “aerodynamic benefits” and “efficiency” demonstrates a consistent pattern of technological adaptation.1 The underlying mechanism of movable shutters remained, but its application and optimization goals evolved as engine cooling systems became more efficient and as efficiency and emissions became paramount. This highlights how engineering solutions mature and expand their utility over time, driven by changing performance metrics and regulatory landscapes. This historical context is crucial for understanding Yamaha’s current patent, as its core innovation lies in its aerodynamic advantages, particularly in managing
exit airflow, signifying a continued evolution of active aero beyond just intake management.
4. Yamaha’s R1 Active Variable Outlet Ducts: A Technical Deep Dive
Design and Mechanism
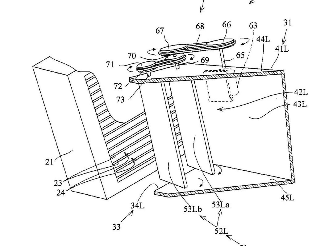
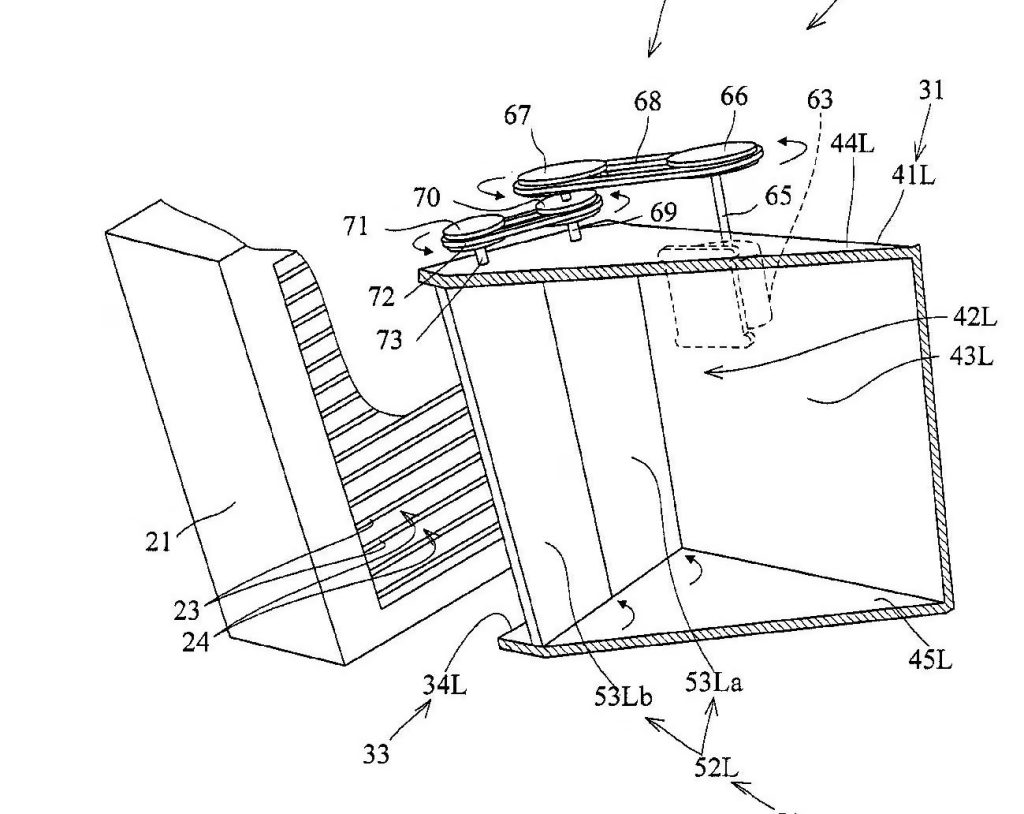
Yamaha’s patent for the R1 introduces a sophisticated active aerodynamic system centered on “all-enveloping side bodywork” that incorporates “variable outlet ducts.” These ducts are specifically designed to control the escape of hot air after it has passed through the radiator.1 This design philosophy represents a significant departure from the more common active grille shutters found in automobiles, which primarily focus on blocking or directing
incoming air to the radiator.1 The patent illustrates two distinct configurations for these variable outlets: one featuring a single, large variable-vane air outlet on each side of the fairing, and a second, more granular design with a pair of smaller variable vanes on each side. The dual-outlet version offers enhanced cooling potential and finer control over airflow dynamics.1 The mechanical actuation of these vanes is achieved through a “simple stepper motor connected to a belt-drive system.” This choice of mechanism ensures a “straightforward, lightweight design” that minimizes additional bulk or weight, crucial considerations for a high-performance superbike.1
Aerodynamic Performance Enhancement
A primary aerodynamic benefit arises when the outlet ducts are closed: the air inside the fairing stagnates, and the incoming air that would typically pass through the radiator is instead redirected and pushed around the sides of the fairing. This effectively reduces overall wind resistance.1 Crucially, the system eliminates a common source of drag on conventional motorcycles: the release of slow-moving, turbulent hot air (which has already passed through the radiator) into the fast-moving external airstream. By closing the outlet vents when not needed, this disruptive airflow and its associated drag are eliminated [User Query]. The system is designed to gradually close the ducts as vehicle speed increases or ambient air temperature decreases, thereby continuously optimizing and improving the bike’s aerodynamic profile.1 Given that aerodynamic drag increases exponentially with the square of speed, such adaptive solutions are indispensable for maximizing efficiency and performance at higher velocities.1
Integrated Thermal Management
The sophisticated control system for the active ducts leverages a comprehensive array of real-time data inputs. These include engine coolant temperature, outside air temperature, throttle position, vehicle speed, and, notably, catalytic converter temperature.1 In typical operation, the vanes adjust their position in response to engine coolant temperature, ambient air temperature, and speed. If the coolant temperature begins to rise, the vents will open further to enhance cooling.1 This adaptive design directly addresses a fundamental compromise in conventional motorcycle cooling systems: they must be engineered to prevent overheating during low-speed traffic or in hot conditions, which often results in aerodynamically suboptimal configurations when the weather is cooler or the bike is moving faster.1
The system’s reliance on multiple, diverse inputs (engine temperature, ambient temperature, speed, throttle position, and catalytic converter temperature) and its capability for “gradual closing” and “temporary compromise” for performance indicates a sophisticated, multi-variable control strategy.1 This level of control points towards a highly integrated and intelligent system designed to dynamically balance multiple, often conflicting, objectives such as optimal cooling, minimal drag, emissions compliance, and peak performance. It represents a shift from reactive thermal management or static drag reduction to a complex, real-time multi-objective optimization problem. This implies that future active aero systems will be deeply embedded within the vehicle’s overall control architecture, leveraging a wide array of sensor data to make nuanced, predictive decisions, potentially incorporating machine learning or predictive modeling to anticipate rider demands and environmental changes.
The explicit emphasis on “catalytic converter temperature” as an important monitored parameter, with the direct benefit of allowing the bike to “get the catalyst up to operating temperature faster and to maintain its optimum operating temperature, improving emissions performance,” highlights a critical application of this technology.1 The precise control over catalytic converter temperature directly and significantly leads to improved emissions performance, as catalysts are most effective within a narrow temperature window. This is a crucial development for meeting increasingly strict global emissions standards, particularly for high-performance vehicles like superbikes, which often struggle with emissions compliance due to their power output and operating characteristics. It demonstrates a proactive and sophisticated engineering response to regulatory challenges, potentially offering a viable pathway for models like the R1 to regain or maintain street-legal status in markets with stringent rules, such as Europe, where the R1 is currently track-only.1 This could provide Yamaha with a significant competitive advantage in emissions-sensitive markets.

Performance Optimization vs. Cooling Compromise
A particularly innovative aspect of the patent is its acknowledgment that cooling can be temporarily compromised in pursuit of maximum performance. For instance, during periods of full-throttle acceleration, the system can keep the vents closed to ensure the “cleanest airflow” for a brief duration, prioritizing peak power delivery.1 It is explicitly stated that the engine would not be allowed to reach dangerously hot temperatures; rather, the system makes a calculated, temporary trade-off, skewing the balance towards performance over immediate optimal cooling.1 Once the desired speed is achieved, or during deceleration, the vanes can be reopened to efficiently bring the engine temperature back down to its optimal range.1
This deliberate design choice to prioritize peak performance for short, critical bursts of acceleration, while accepting a temporary and controlled deviation from optimal cooling, reveals a strategic decision. This calculated risk management strategy aims to maximize competitive advantage in situations where every fraction of a second matters. It signifies that active aero on performance bikes is not solely about efficiency but also about dynamic performance enhancement. This suggests that active aero systems on performance motorcycles will be designed not just for efficiency gains, but also to enable and optimize fleeting moments of maximum performance. This implies the need for sophisticated predictive control systems that can anticipate rider demands (e.g., based on throttle input, gear, speed) and adjust aerodynamic parameters accordingly, pushing the envelope of rider-machine interaction.
5. Strategic Implications: Efficiency, Emissions, and Market Position
Fuel Economy and CO2 Reduction
The primary aerodynamic benefit of Yamaha’s active variable outlet ducts is the significant reduction in wind resistance. This directly translates into improved fuel economy, allowing the motorcycle to travel further on the same amount of fuel.5 Concurrently, this reduction in aerodynamic drag leads to a measurable decrease in CO2 emissions, a critical factor for environmental compliance and corporate sustainability targets.5 While specific figures for motorcycles are not provided, automotive active grille shutters have demonstrated CO2 emission reductions of nearly 2% when fully closed 10, indicating the potential magnitude of impact such systems can have.
Emissions Compliance
The system’s innovative ability to monitor and control catalytic converter temperature is a profound advantage for enhancing emissions performance.1 By rapidly bringing the catalyst to its optimal operating temperature and maintaining it, the system directly assists in meeting increasingly stringent global emissions regulations. This is particularly vital for the R1, which has already been withdrawn from Yamaha’s streetbike range in Europe due to emissions rules.1 This feature is crucial for Yamaha’s strategic objective to “maintain a presence in that part of the market in the future,” offering a technological solution to a significant regulatory hurdle [User Query]. The R1’s current market restriction is a powerful motivator for Yamaha’s significant investment in this specific active aero technology. This innovation is not just about incremental improvement; it is a strategic and potentially critical enabler for its flagship model’s future viability and competitiveness in major global markets, particularly those with stringent environmental regulations. This case study underscores how regulatory environments can profoundly shape product development and market strategies within the automotive and motorcycle industries, potentially leading to a wave of environmentally conscious performance technologies across the industry.
Customer Value Proposition
The active variable outlet duct technology presents a compelling value proposition to customers by offering a sophisticated balance of improved performance (through reduced drag), enhanced efficiency (better fuel economy), and environmental responsibility (lower emissions).1 This multi-faceted benefit directly addresses the evolving demands of both performance-oriented enthusiasts and a growing segment of environmentally conscious consumers, while also satisfying legislative requirements [User Query]. The patent emphasizes a “straightforward, lightweight design” for the actuation system (stepper motor, belt-drive), suggesting minimal added bulk or weight to the motorcycle.1 This ensures that the performance benefits are not offset by undesirable increases in mass, further enhancing the bike’s overall appeal and handling characteristics.
Active aerodynamics is emerging as a comprehensive, multi-faceted solution addressing a complex array of pressures: consumer demand for higher performance, economic imperatives for greater efficiency, and legislative mandates for reduced environmental impact.1 It is not merely a single-purpose technology but a strategic platform that enables manufacturers to navigate these interwoven challenges simultaneously. This suggests that active aero will rapidly become a standard, expected feature on high-performance motorcycles, mirroring its adoption in high-end automotive segments. This widespread integration will be driven by a complex interplay of market forces rather than a singular benefit. Manufacturers who fail to adopt and innovate in this space risk losing significant market share and facing regulatory non-compliance, making it a critical area for future investment.
6. Competitive Landscape: Active Aerodynamics Across Motorcycle Manufacturers
The motorcycle industry is witnessing a concerted effort across major manufacturers to integrate active aerodynamic solutions, each exploring distinct approaches to achieve enhanced performance, efficiency, and stability.
BMW’s Active Aero Initiatives
BMW has demonstrated extensive commitment to active aerodynamic technology, with notable patent filings in recent years.1 Their research includes advanced “ducted fan” systems designed to generate and direct high-pressure air through dedicated tubes. This system aims to dynamically alter airflow for both increased downforce and reduced drag on straights.1 Beyond drag and downforce, BMW’s “air jet” system is envisioned to enhance vehicle stability, assist in braking (via forward-facing jets), and even contribute to balancing the motorcycle through corners. This technology shows potential for integration with advanced rider assist systems, possibly paving the way for future autonomous riding capabilities.1 In 2023, BMW also filed patents for active grille shutters on motorcycles, a direct adaptation of technology already prevalent in their automotive lineup.1
Honda’s Aerodynamic Innovations
Honda’s patent portfolio indicates a focus on both traditional front-end winglets for downforce and drag reduction, as well as more novel concepts like a “through-flow” tail unit design.13 The unique tail unit aims to significantly reduce drag and generate downforce by allowing air to pass through a wide, open hoop behind the rider, then redirecting it using the internal surfaces of the cowl.14 Interestingly, a Honda patent for a luggage system specifically designed to fit within this through-flow tail unit highlights a practical consideration for road-going motorcycles, demonstrating a balance between performance aero and real-world usability.14
Ducati’s Aero and Suspension Developments
Ducati has long been at the forefront of integrating advanced aerodynamics into their motorcycle designs, with patents focusing on “improved aerodynamics” that optimize airflow to the radiator for enhanced thermal exchange.15 Beyond pure aerodynamics, Ducati has been a pioneer in active and semi-active suspension systems. Patents describe mechanisms that can dynamically change ride height to improve braking performance, demonstrating how active chassis elements can indirectly influence aerodynamic behavior.16 There have also been discussions and unconfirmed reports regarding Ducati’s exploration of variable-area exhaust nozzles. This concept aims to convert engine exhaust energy into thrust, potentially offsetting aerodynamic drag or generating downforce, a principle reminiscent of the Meredith effect.17
Other Manufacturers’ Explorations (e.g., Kawasaki)
While detailed specific active aero patents for Kawasaki are not extensively covered in the provided information, the general industry trend indicates that all major motorcycle manufacturers are actively investing in advanced aerodynamic solutions. Kawasaki’s broader research and development efforts, including patents for electric motocross bikes and unique venturi duct designs, suggest an overarching push towards innovative vehicle architecture that would inherently incorporate advanced aerodynamic principles.18 The focus on electric platforms also underscores the critical role of efficiency, which active aero can significantly contribute to.
The diverse approaches to active aerodynamics across manufacturers—Yamaha’s variable outlet control, BMW’s air jets, Honda’s through-flow tails, and Ducati’s integration with active suspension and potential exhaust thrust—reveal that the motorcycle industry is currently in an exploratory phase for active aerodynamics.1 There is no single, universally adopted “correct” or dominant approach yet. Manufacturers are experimenting with a wide range of physical principles to achieve similar overarching goals of drag reduction, downforce, stability, and cooling. This signifies a period of intense R&D and intellectual property competition, suggesting that the optimal active aero solution for a motorcycle might be highly dependent on the bike’s specific segment. The eventual dominant technology might not be a single solution but rather a hybrid of these approaches, or even a completely novel one, indicating that the market is primed for significant innovation and differentiation in the coming years.
Furthermore, the integration of active aero with other vehicle systems is a clear trend. BMW’s air jet system is envisioned to integrate with “advanced rider assist technology” and potentially “autonomous riding”.1 Ducati’s active suspension directly impacts vehicle dynamics and, by extension, its aerodynamic interaction with the road.16 Yamaha’s system relies on multiple sensor inputs for its dynamic control.1 This points to active aero not being a standalone feature, but rather an integral part of a motorcycle’s overall dynamic control system. Its effectiveness and full potential are realized when it is deeply integrated with other vehicle control systems, such as engine management, stability control, suspension, and rider assistance systems. This signifies a move towards highly interconnected, intelligent motorcycles, necessitating significant advancements in sensor technology, sophisticated electronic control units, and complex control algorithms. This pushes the boundaries of motorcycle engineering beyond traditional mechanical design, opening up unprecedented possibilities for new safety features, dynamic performance optimization, and enhanced rider experience.
Table 1: Key Active Aerodynamic Features Across Major Motorcycle Manufacturers
| Manufacturer | Active Aero Feature(s) | Primary Function(s) | Mechanism/Principle | Status |
| Yamaha | Variable Outlet Ducts | Drag Reduction, Cooling, Fuel Efficiency, Emissions Control (Catalyst Temp) | Movable Vanes (Stepper Motor, Belt-Drive) | Patent Application |
| BMW | Air Jet Systems | Downforce, Drag Reduction, Stability, Braking Enhancement, Cornering Balance | Ducted Fans / High-Pressure Air Jets | Patent Filings |
| BMW | Active Grille Shutters | Cooling, Drag Reduction, Fuel Efficiency | Movable Shutters | Patent Filings |
| Honda | Through-Flow Tail Unit | Drag Reduction, Downforce | Variable Geometry / Airflow Redirection | Patent Application |
| Honda | Active Aero Panels | Downforce, Drag Reduction | Movable Panels | Patent Application |
| Ducati | Radiator Airflow Opt. | Enhanced Thermal Exchange, Improved Aerodynamics | Optimized Airflow Paths | Patent Granted |
| Ducati | Active Suspension | Braking Enhancement (changes ride height), Dynamic Stability | Hydraulic Actuators | Patent Granted |
| Ducati | Variable-Area Exhaust | Thrust Generation, Downforce (potential) | Exhaust Gas Dynamics (Unconfirmed reports) | Concept/Discussion |
| Kawasaki | Venturi Duct Design | Aerodynamic Efficiency (general) | Fixed Venturi Duct (part of overall architecture) | Patent Application |
This table provides a concise comparative overview of the diverse active aerodynamic strategies currently being pursued by leading motorcycle manufacturers. It allows for rapid identification of overarching industry trends and highlights the unique engineering philosophies and technological differentiators of each company, supporting strategic analysis and understanding of the competitive landscape.
7. Conclusion: The Future Trajectory of Motorcycle Aerodynamics
Yamaha’s R1 patent for active variable outlet ducts represents a significant leap forward in motorcycle aerodynamic technology. Its unique focus on managing post-radiator airflow for both aerodynamic efficiency and thermal benefits distinguishes it within the emerging landscape of active aero solutions. The system’s demonstrated capabilities in reducing drag, improving fuel efficiency, and, critically, optimizing catalytic converter temperature, position it as a key technological solution for addressing future emissions regulations and meeting evolving consumer demands for both performance and environmental responsibility.
The broader motorcycle industry is unequivocally embracing active aerodynamics. Major manufacturers such as BMW, Honda, and Ducati are actively exploring a diverse range of highly innovative solutions, from active grille shutters and air jet systems to through-flow tail units and integrated active suspension technologies. This intensely competitive landscape underscores that active aerodynamics is not a fleeting trend but a fundamental, enduring shift in motorcycle design philosophy. It is driven by the escalating need to dynamically balance raw performance, operational efficiency, and stringent environmental compliance. The future of high-performance motorcycles will undoubtedly feature increasingly sophisticated, seamlessly integrated active systems. These systems will dynamically adapt to a myriad of riding conditions, ultimately offering unprecedented levels of performance, enhanced safety, and superior efficiency to the rider.
8. Recommendations
For Yamaha
- Accelerate Development and Commercialization: Given the R1’s current status in the European market, Yamaha should prioritize the rapid development, refinement, and commercialization of this active aero system. This strategic imperative is crucial to re-establish the R1’s street-legal presence in key markets and to secure a significant first-mover advantage in this specific niche of active cooling aerodynamics.
- Emphasize Holistic Benefits in Marketing: Beyond showcasing the obvious performance gains, Yamaha’s marketing strategy should prominently highlight the significant environmental and efficiency benefits derived from this technology, including improved fuel economy and reduced emissions. This broader appeal will resonate with an increasingly environmentally conscious consumer base and demonstrate proactive compliance with regulatory bodies.
- Explore Deeper Integration with Other Systems: Yamaha should invest further in research and development to seamlessly integrate this active aero system with other critical motorcycle control systems. This includes, but is not limited to, traction control, lean angle sensors, ride modes, and potentially even semi-active suspension. Such integration will unlock even greater dynamic optimization, enhance rider assistance capabilities, and create a truly adaptive riding experience.
For the Motorcycle Industry (General)
- Invest in Cross-Disciplinary Research and Development: The industry must foster deeper collaboration between traditionally siloed engineering disciplines: aerodynamicists, thermal engineers, electronics specialists, and control system engineers. Developing truly integrated and optimized active aero solutions necessitates a holistic, multi-disciplinary approach.
- Consider Standardization and Safety: As active aerodynamic systems become more prevalent and complex, industry bodies should proactively initiate discussions on potential standardization, assess long-term safety implications, and develop robust testing protocols for these dynamic, adaptive systems to ensure reliability and rider safety.
- Prioritize Consumer Education: Manufacturers should develop clear, accessible communication strategies to educate consumers on the benefits, operation, and underlying principles of active aerodynamic systems. The inherent complexity of these technologies may initially be a barrier to understanding and adoption, requiring transparent and compelling explanations.
- Integrate with Electrification Strategy: With the accelerating shift towards electric and hybrid powertrains, active aerodynamics should be deeply integrated into long-term electrification strategies. These systems will play an even more critical role in maximizing the efficiency and range of future electric motorcycles, where thermal management of batteries and motors, alongside drag reduction, remains paramount.
Sources
- Yamaha R1 Patent Shows Advanced Aero – Cycle World, accessed on June 30, 2025, https://www.cycleworld.com/motorcycle-news/yamaha-yzf-r1-advanced-aerodynamics-patent/
- Official Patents Hint At New Yamaha YZF-R1 With Advanced Aero – Top Speed, accessed on June 30, 2025, https://www.topspeed.com/patents-hint-at-new-yamaha-yzf-r1-with-advanced-aero/
- Clemson Vehicular Electronics Laboratory: Active Aerodynamics, accessed on June 30, 2025, https://cecas.clemson.edu/cvel/auto/systems/active_aerodynamics.html
- Active Aerodynamics: The Future of Automotive Technology – The Beauty of Cars, accessed on June 30, 2025, https://www.beautyofcars.com/blog/active-aerodynamics-the-future-of-automotive-technology
- How Active Aerodynamics Boost Vehicle Performance – Data Bridge Market Research, accessed on June 30, 2025, https://www.databridgemarketresearch.com/articles/improve-your-vehicle-performance-using-active-aerodynamics
- Meredith effect – Wikipedia, accessed on June 30, 2025, https://en.wikipedia.org/wiki/Meredith_effect
- How much thrust was provided by a typical Meredith Effect radiator?, accessed on June 30, 2025, https://aviation.stackexchange.com/questions/12981/how-much-thrust-was-provided-by-a-typical-meredith-effect-radiator
- BMW Active Grille Shutters Replacement from $457 – CarParts.com, accessed on June 30, 2025, https://www.carparts.com/active-grille-shutter/bmw
- Active grille shutter – OPmobility, accessed on June 30, 2025, https://www.opmobility.com/en/active-grille-shutter/
- Active Grille Shutters, accessed on June 30, 2025, https://www.standardbrand.com/media/6322/st10235-ags-mar19.pdf
- 2025 Cars: How Active Grille Shutters Are Revolutionizing Fuel Efficiency! | Part 1 – YouTube, accessed on June 30, 2025, https://www.youtube.com/watch?v=eirgxOv2NSE
- Patents Reveal BMW Wants To Make A Superbike With Aerospace Technology – Top Speed, accessed on June 30, 2025, https://www.topspeed.com/patents-reveal-bmw-wants-to-make-a-superbike-with-aerospace-technology/
- US11286011B2 – Active aero panel – Google Patents, accessed on June 30, 2025, https://patents.google.com/patent/US11286011B2/en
- Innovative aerodynamics from Honda | New patent designs – Bennetts Insurance, accessed on June 30, 2025, https://www.bennetts.co.uk/bikesocial/news-and-views/news/2020/april/innovative-aerodynamics-from-honda
- US8096381B2 – Simplified motorcycle – Google Patents, accessed on June 30, 2025, https://patents.google.com/patent/US8096381B2/en
- Ducati’s Active Suspension Patent | Inside Motorcycles Magazine, accessed on June 30, 2025, https://www.insidemotorcycles.com/ducatis-active-suspension-patent/
- Ducati Patents Jet Exhaust? – Cycle World, accessed on June 30, 2025, https://www.cycleworld.com/ducati-patent-jet-exhaust/
- This Motorcycle Patent Has the Wildest Aero We’ve Ever Seen – RideApart.com, accessed on June 30, 2025, https://www.rideapart.com/news/721473/white-motorcycle-concepts-crazy-aero-patent/
- Kawasaki patent shows electric motocross bike – Australian Motorcycle News, accessed on June 30, 2025, https://amcn.com.au/editorial/kawasaki-patent-shows-electric-motocross-bike/
Our Social Media Handles
- Instagram : LivingWithGravity
- Medium : Akash Dolas
- YouTube Channel : Gear and Shutter































