Honda will remodel CRF250Rally and CRF250L as per EURO 5 norms.
Here are the patent details. The patent is related to its fuel pump.
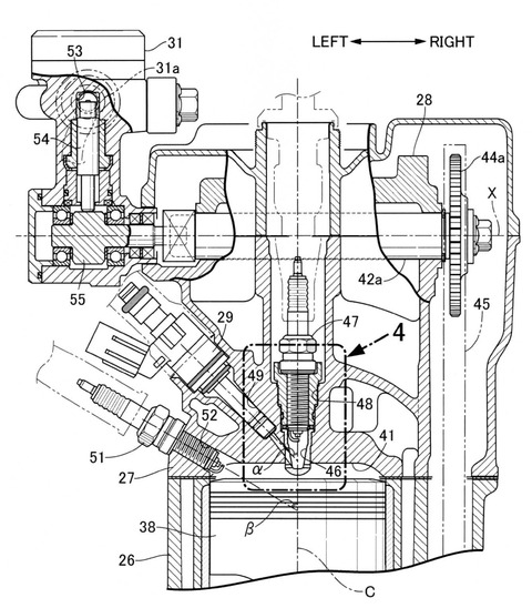
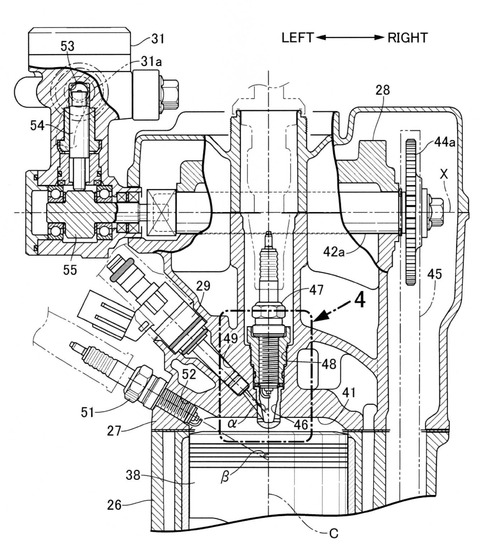
- The fuel pump 31 is provided in the space between the main frame 14 and the down frame 16 and is attached to one side surface of the cylinder head 27.
- The straddle-type vehicle 11 is attached to the cylinder head 27 from one side of the cylinder head 27 and injects fuel toward the combustion chamber, and the fuel injection valve 29 according to the generated pump pressure.
- For CRF 250 LÂ the patent provides an internal combustion engine that can ensure reliable sealing performance and contribute to downsizing of the sub chamber partition.”
Â
ads botom



































