This patent is filed in November 2017 and talks about Suzuki’s exhaust patent for GSX-250 exhaust for Euro 5 norms.The exhaust noise is reduced by muffler 18 of saddle ride vehicle.
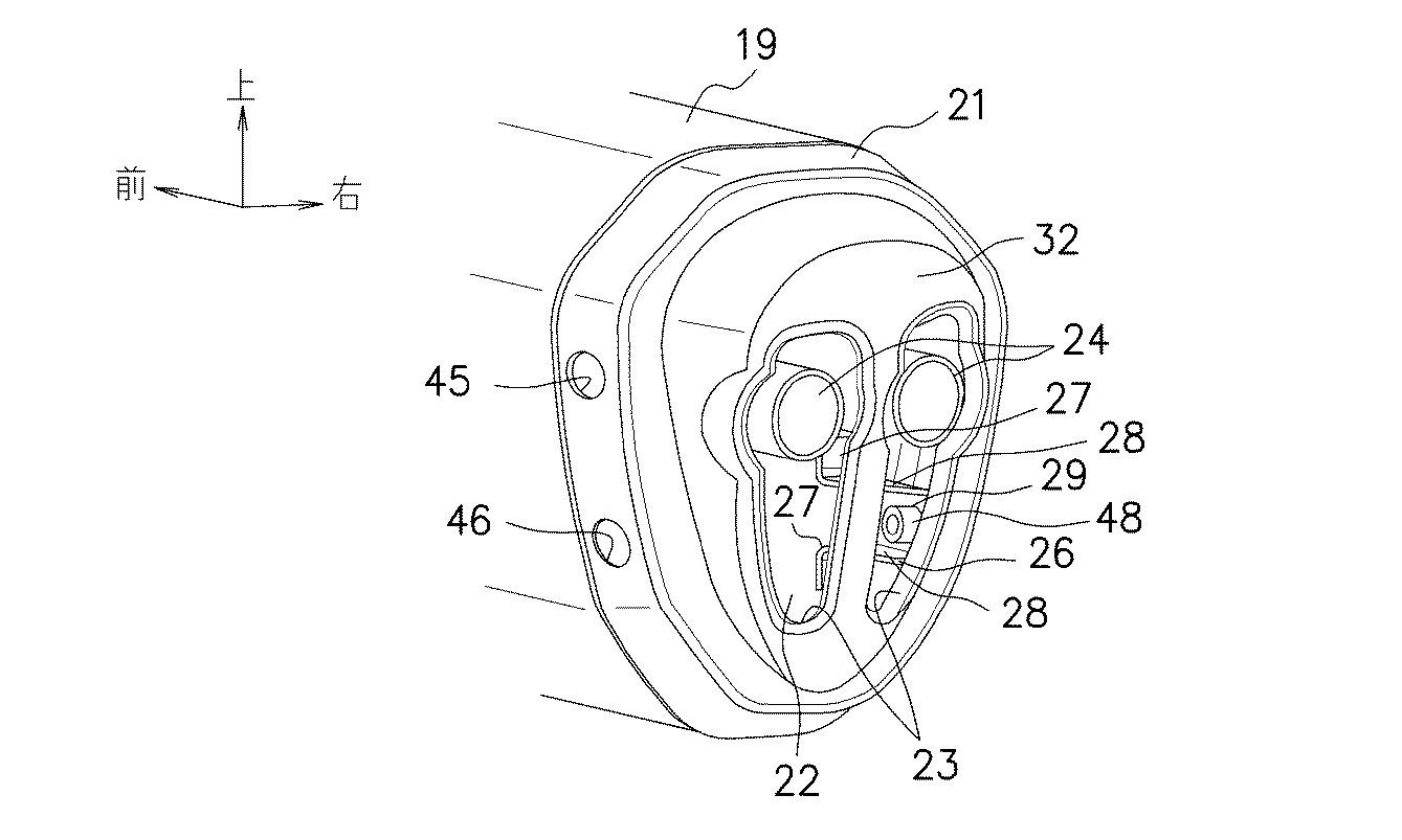
Combustion engine has muffler body 19 and that does have tail pipe 24 going behind a rear portion of 19. Tail pipe 24 is covered with tail cover 21.
A first fastening member disposed on the inner side in the vehicle width direction inside the tail cover 21 as a fastening portion for fixing the tail cover 21 to the muffler body 19.

A first hole 45 and a second hole 46 corresponding to the first fastening portion and the second fastening portion are provided on the inner surface in the vehicle width direction. “
Source : Google Patents
































