MotoGP: Finland’s KymiRing track is tested
MotoGP tests started at the Finlands Kymiring track with all the six players taking an active part and having there one representative to test...
MotoGP: Alex Rins tops the podium at Silverstone
It was all gripping drama till the last moment at Silverstone as Fabio Quartararo's Yamaha slips and goes on Dovizioso's Ducati as Fabio panicked...
News: PGMV8 ” The Mechanical Charisma “
What do you have to say for this? 8 cylinders, 2.0 liters… 334hp and 242kgsIt is a mechanical behemoth in terms of speed. Build by...
News: Old Vs New Triumph Daytona
As all new Moto 2 Daytona 765 LE is unveiled we also compared what is what with old variant. 765 / 675R Body specifications Full width: 718mm...
News: All about new Triumph Daytona 765 LE with more firepower
The wait is over as new Daytona 765 Moto2 LE is unveiled. The possibility of normal Daytona 765 to arrive soon also can't be...
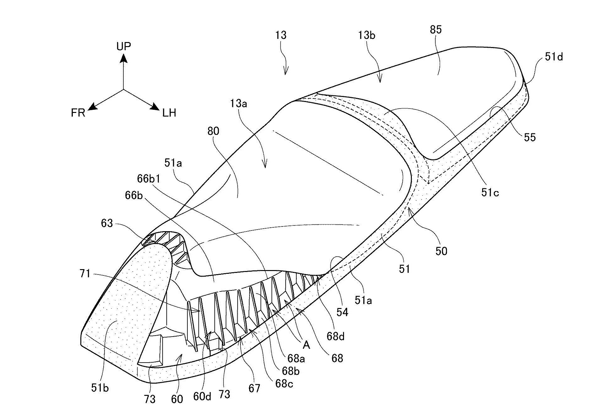
News: Patent of the removable seat for Honda PCX
This patent is filed in January 2018.It is a detachable seat cushion, and provides a vehicle seat structure that can be adjusted for cushioning...
Scoop: Spied Harley’s Pan America and Street Fighter (BRONX)
We have spied the upcoming models of Harley and they are Pan America and Street Fighter. Harley registered a trademark as of February 2019 ... 48X BRONX PAN...
MotoGP: Jorge Lorenzo on his comeback
While the upcoming MotoGP is on Silverstone we hear from Jorge Lorenzo speaks on his comeback and the latest rumors.He was thinking to take...
News: Harley-Davidson brings 2020 Low Rider S, Softail and Tri Glide
Harley has launched three 2020 models. The new Low Rider S, Softail and Tri Glide.While the launch of the electric LiveWire will continue. Softail gets...
News: Are BMW 2020 models S1000XR and F850XR ready?
While BMW has unveiled the list of 2020 models that are set to arrive in the coming year. We also see that there are...












































