It looks like Honda won’t stop amazing us from the launch of its upcoming CBR1000RR.
Patent for 2020 model-new CBR1000RR-like fixed-wing, adjustable quick shifter and electronically controlled suspension system. This was filed in 2018 March.
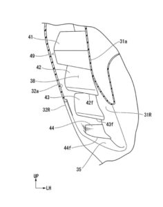
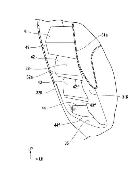
Below is the side cowl diagram and you could see from section 41 till 35 are fins of the built-in wing. The area of the surface gets less as you see from top to bottom.
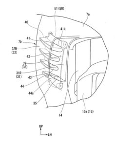
Drawing of section area seen from the front side. These are contents of the wing. The previous patent was an ECU-controlled electronic control wing, but this patent is it fixed.
We hope to see the new Honda CBR1000RR with all these goodies.
ads botom































