A few motorcycle manufacturers are at present contending to make electric motorbikes. Some have been mass created and have just been sold/leased, some are still models or ideas. What’s more, the electric bikes they make for the most part have the state of a little measurement bike.
There are additionally the individuals who have plans, for example, sport fairing engines, particularly from European producers, yet for Japanese makers? there is by all accounts no watchers. Until at long last, a plan golden patent gave the idea that was firmly associated with having a place with a Honda motorbike, and this electric motorbike has a structure like an interesting game fairing engine which has a 2 Wheel Drive or 2WD which implies both the front and back wheels pivot utilizing an electric motor.
The Honda electric motorbike which enlisted its patent structure in August 2017 has a plan like the CB400SB or CB1300SB sport fairing visiting which is one of the JDM cruisers. There isn’t much data about the subtleties of development of machines, batteries or whatever else.
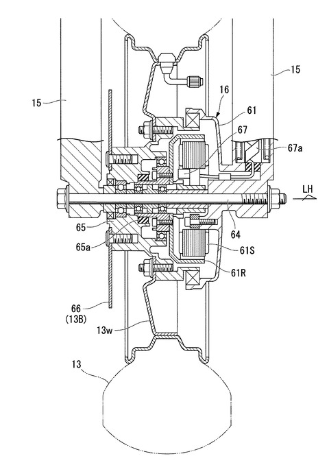
What I cited from the source, the Kojinteki site, makes reference to if this motorbike has a 2WD drive with an In-Wheel demonstrate which implies it has an electric motor on the front and back wheels.The Honda additionally incorporates how the system of the In-Wheel engine in the front and back wheels, similar to this alongside the subtleties:




































