Yamaha’s outline of the Tokyo Motor Show 2019 talks about two mystery models.
The location of the Yamaha booth will be at West Hall.
In this 46th Tokyo Motor Show, 2019 Yamaha is expected to showcase a total of 6 world-class models out of which 2 are for Japan and they will fall in the category of motorcycle, leaning multi-wheel (LMW), electric commuter, electric-assist bicycle, autonomous 18 models, including solution vehicles.
Yamaha definitely is roaring.
YZF-R1
The release date of 2020 YZF-R1 is 2020 fall and it isn’t not going to change. Yamaha YZF-R1 specifications are here. It will be unveiled in Japan though.
TENERE700
Summer released is planned for this 2020 Tenere 700 model. Here are the details about specifications.
E01
It is a scooter with 125 cc for day to day commuting it also has the capability to charge fast and has is rated good overall in from the performance point of view.
E02
It comes with a detachable battery with stylish urban looks that is capable to move easily in traffic . The shape looks futuristic.
Growing the mystery are two models.
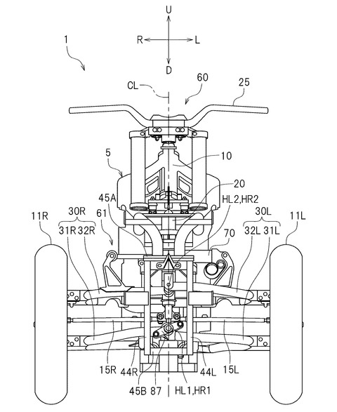
VMAX LMW
There are several patents filed for VMAX LMV. There will be an LMW version of VMAX at Tokoyo Motor Show this month. Also, Yamaha has designs registered for new NMAX and they are spied in Indonesia as well.
3CT
For 3CT the main market is Europe. We feel Yamaha will not unveil this model in this Tokyo Motor Show 2019. But you may never know what Yamaha’s plans are.
LivingWithGravity’s Take
We feel there is a possibility that Yamaha displays 3CT, VMAX LMW well again we are not sure it could be possible for Yamaha to showcase.
New NMAX again is possible and then again one more LMW which is again a mystery.
We are eagerly waiting for Yamaha as to what it displays. But it is going to be exciting for sure.







































