There are rumors of the new Ninja H2, but either of these patents are to be utilized.
Kawasaki injector patent
“For engines that inject fuel toward the combustion chamber, further improvements in output are desired.”
“Provide an engine that can improve output.”
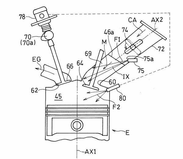
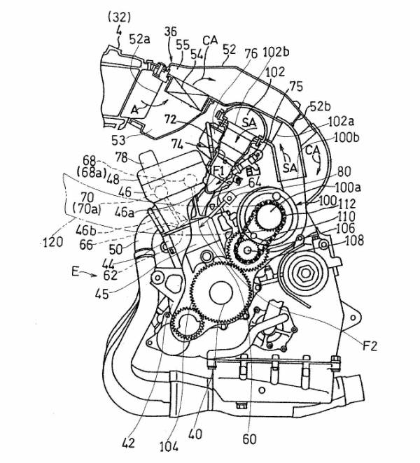
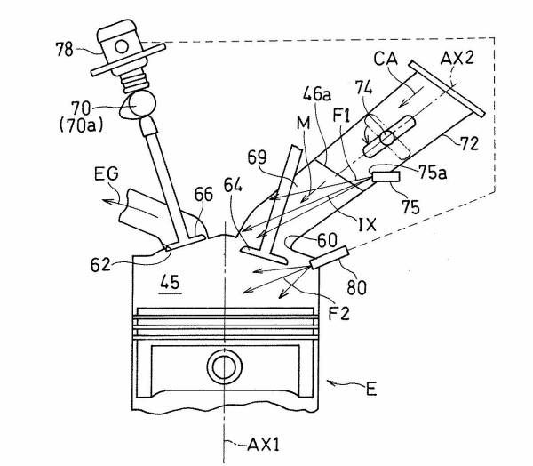
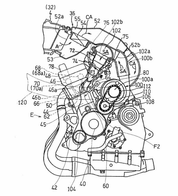
The engine E includes a cylinder 44 having a combustion chamber 45 formed therein, a cylinder head 46 having an intake passage 69 for introducing intake air into the combustion chamber 45, and an intake port 60 openings to the combustion chamber 45 in the intake passage 69.
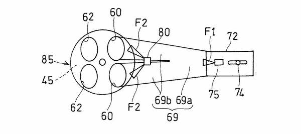
The fuel injector includes an intake valve 64 that opens and closes, and a fuel port injection injector 80 disposed closer to the crankshaft 40 than the intake passage 69.
The port injection injector 80 has an injection axis AX3 having an outlet 80a of the port injection injector 80. And through the intake port 60 to the combustion chamber 45. “
Ninja H2 System
A patent filed in June 2018. FIG. Is this a Ninja H2 system? Very similar, but the details are a bit different.
According to this configuration, when the fuel is injected from the port injector in the open state of the intake port, the liquid fuel is sprayed into the combustion chamber, and the air in the combustion chamber is cooled by the heat of vaporization.
It is located close to the crankshaft than the intake passage, it is easy to form the intake passage closer to the cylinder axis .
Whereby the shape of the intake passage toward the combustion chamber can be made closer to a straight line, and the flow path resistance can be reduced. It can be smaller, which can improve the output of the engine. “
That’s right.
The Injector
- 64: Intake valve
- 66: Exhaust valve
- 72: Throttle body
- 74: Throttle valve
- 75: Upstream injector
- 80: Port injection injector
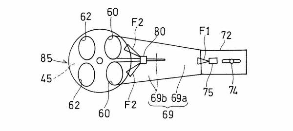
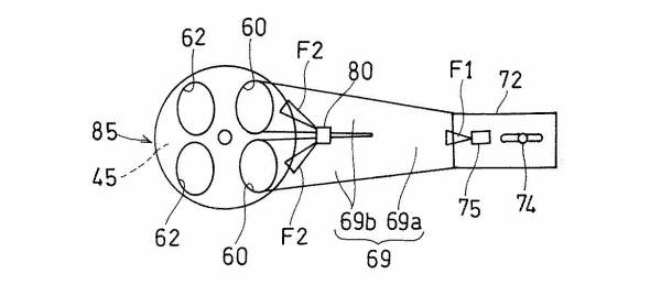
Oh, there are several injectors. There is a triple injector. Also there is a double injector. But it is actually the same. The second embodiment.
In the present invention, a plurality of injectors may be provided in a cylinder, and at least one injector may inject fuel into a combustion chamber of the cylinder.
According to this configuration, by changing the injection characteristics for each injector, It allows for a variety of fuel injections. “
Present Invention
The present invention further includes an intake pipe connected to an inlet of the intake passage, and an upstream injector disposed closer to a crankshaft than the intake pipe and injecting fuel into the intake pipe.
According to this configuration, the diversification of the injection can be achieved by the two injectors, and since the two injectors are on the crankshaft side, it is easy to arrange the fuel pipe. “
It has three injectors in one cylinder or a similar configuration.It seems that this is obviously a patent for a higher model.The control becomes complicated, with a total of 12 injectors.
There is also a vehicle figure.
What is it?
“The traveling wind A is introduced from the air inlet 30 into the ram duct unit 34. The traveling wind A passes through the suction duct 32 from the ram duct unit 34 and is introduced into the air cleaner 36 shown in FIG.
There is a ram air intake. Then a pipe frame. Autonomy body. And a cantilevered silhouette.
When it comes to Kore Ninja H2, ZX-14R, and so on in the above embodiment, the naturally aspirated engine has been described. However, the current invention is also applicable to a supercharged engine.
The supercharged engine is provided downstream of the air cleaner 36 and upstream of the throttle body 72 with a supercharger and an intake chamber.
In the case of a supercharged engine, since the intake air temperature is likely to be high, the suppression of the temperature in the combustion chamber 45 by the port injector 80 of the present invention is more effective. The side injector 75 may be omitted. “
And since there was a specific statement like this, it looks good for Ninja H2 after all.
There are new rumors, so it would be a patent for it.
Fuel Injector
Since the fuel F2 is injected from the port injector 80 when the intake port 60 is open, the adhesion of the fuel to the intake passage wall is suppressed.
So that high output / high torque, low fuel consumption and fuel efficiency similar to a direct injection engine are obtained.
Exhaust gas can be expected to be improved, and a high-pressure pump is not required because the injection port 80a is disposed in the internal intake passage 69 (in the port) instead of the combustion chamber 45.
Therefore, the configuration is different from that of a direct-injection engine. Is easy. There is mention of direct injection engines.
There is no direct-injection motorcycle at the moment, but such a patent has been filed by Kawasaki .
Patent for Kawasaki direct-injection engine
“Provide an engine with a direct injection injector that makes it easy to arrange the intake system around the engine.”
The engine E opens and closes a cylinder 44 in which a combustion chamber 45 is formed an intake valve operating mechanism 68 that drives an intake valve 64 that opens and closes an intake port 60 of the combustion chamber 45, and an exhaust port 62 of the combustion chamber 45. An exhaust valve mechanism 70 that drives the exhaust valve 66.
A direct injector 80 that opens an injection port 80 in the combustion chamber 45 to inject fuel into the combustion chamber 45, and a power supplied from the exhaust valve mechanism 70.
And a high-pressure pump 78 driven by the direct injection pump to increase the injection pressure of the direct injector 80. “
A patent was filed in June 2018.
Configuration
According to this configuration, since the high-pressure pump is driven by the power from the exhaust-side valve train, the intake system such as the intake pipe, the air cleaner, and the throttle body can be easily arranged around the engine. Here, the degree of freedom of arrangement is improved.
Here, the “intake system device” refers to a device in which an intake passage through which intake air flows is formed, such as an intake pipe, a throttle body, an intake chamber, a supercharger, and an air cleaner. “
The diagram of the engine is almost the same as before. It has a direct injector 80 and a high-pressure pump 78. In the figure of this patent, the supercharger 100 is shown normally.
So, after all, it looks good as a patent for the H2 system. Although it was a patent earlier, 75 is an upstream injector. 80 is a direct-injection injector.
By the way, it was stated that the upstream injector could be omitted. 80a is the injection port of the direct injector. 64 is an intake valve. There is an injection port between the intake valves. By the way, there are high-pressure pumps.

“The high-pressure pump 78 is driven by the power from the exhaust-side valve mechanism 70, and the pressure of the direct injection injector 80 is increased by the high-pressure pump 78.”
Present Embodiment
“In the present embodiment, the injection pressure of the direct injector 80 is about 10 Mpa. On the other hand, the injection pressure of the upstream injector 75 is about 0.3 Mpa.”
The pressure of the direct injector is increased by the high-pressure pump, and it is much stronger than the upstream injector.
It’s almost like that. Regarding the Ninja H2, there is a minor change in the 2021 and the 2022 model. There are such rumors, and with the above patent.
We personally think it’s probably good to see if either the triple injector or the direct injection will be adopted in the new Ninja H2.
Honda has applied for multiple direct injection patents, but which one comes first? We personally feel that Kawasaki is likely to put out first. We have a feeling of the motorcycle wars.
KH makes it a Kawasaki motorcycle. Kawa is competing in a good way, or is there a rivalry?We feel arbitrary.
Source : Google PatentsÂ
See Also
Top 7 Motorcycles above 200HP
Evolution of Engineering “Ninja H2”
2020 Kawasaki NInja H2 SX SE release date
2020 Kawasaki modelsÂ



































